embeded/Cortex-M7 STM
STM32H757 전원 설정
구차니
2024. 9. 4. 21:56
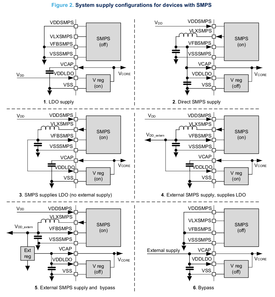
아니 무슨.. STM32F 시리즈에서는 이런거 본적도 없는데, 전원 옵션이 존재해?
입력이야 PCB 설계쪽에서 할일이긴 한데
cubeide 에서 보다보니 RCC에서 power parameters
PW_LDO_SUPPLY 등이 존재하길래 왜(?) 이런거 까지 sw에서 설정해야 하는게 멘붕중


